OPPO新型摄像头专利:升降+翻转

2019-05-21 10:47:36来源:互联网作者:xzwh

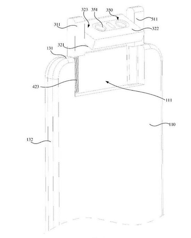
      相关媒体爆料,日前,OPPO有款新型摄像头专利已泄露。此项专利使用了一种升降+翻转的方案以保证正面的屏占比。

OPPO新型摄像头专利:升降+翻转

      值得一提的是,三星在上个月刚刚发布的A80也使用了升降+翻转的设计思路,不同的是三星在升降方案上类似Find X的小半个机身从屏幕后方弹出的设计,而OPPO的这款专利看起来则更加简洁一些。

OPPO新型摄像头专利:升降+翻转

      不过现在还仅仅是专利被曝光,OPPO会不会在旗下手机产品的设计当中搭载此项专利目前还不得而知。